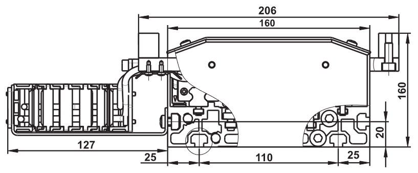
Стол имеет подвижную каретку с шариковыми блоками, головкой энкодера и якорем с шихтованным пазовым ярмом с залитой компаундом трехфазной
обмоткой, и неподвижный алюминиевый профиль с рельсами, лентой энкодера и стальным статором с наклеенными магнитами. Плавность хода обеспечивается синусоидальной модуляцией фазных токов сервоконтроллером по сигналам линейного энкодера.
| LSMA-T-32-167-50 | ||||
| GS1 | GT1 | |||
| Пиковое усилие | Fp | Н | 674 | 674 |
| Длительное усилие | Fa | H | 171 | 171 |
| Пиковый ток при Fp | Ip | A. эфф | 15.1 | 26.1 |
| Длительный ток при Fa | Ia | A. эфф | 3.1 | 5.3 |
| Максимальная скорость при Fp и Us | Vp | м/с | 2.0 | 3.9 |
| Максимальная скорость при Fa и Us | Va | м/с | 5.1 | 6.0 |
| Трение в подшипнике | Fb | Н | 9 | 9 |
| Зубцовое усилие | Fc | Н | 5 | 5 |
| Сопротивление фаза-фаза при 20 С | R | Ом | 3.1 | 1.0 |
| Индуктивность фаза-фаза | L | мГн | 45 | 28 |
| Вязкое трение | Ff | м/с | 5 | |
| Макс. опрокидывающий момент нагрузки | Н/м/c | 40 | ||
| Точность | мм | 0.07 | ||
| Повторяемость | мм | 0.005 | ||
| Разрешение | мм | 0.001 | ||
| Вес каретки | кг | 1.2 | ||
| Вес основания (для хода 60мм чертеж) | кг | 3.2 | ||
| Макс. вес нагрузки | кг | 60 | ||
Ход: S =60+128*n мм (макс. ход = 7 м), где n=1..28; Длина стола: L=S+280мм. Стандартная длина кабелей 3 м.




